Hilux Surf Wiring Diagram
Hilux repair manual hilux new car. Toyota hilux surf 1kz te wiring diagram author:
Heat plugs ? Hilux Surf & 4Runner forum
Download toyota engine workshop repair manuals toyota motor corporation is a japanese multinational automaker headquartered inside toyota aichi japanthe

Hilux surf wiring diagram. Diagram 2000 toyota 4runner radio wiring diagram full. 05 toyota tundra stereo wiring diagram the guides that show you what. 93 toyota t100 fuel pump wiring wiring diagram directory.
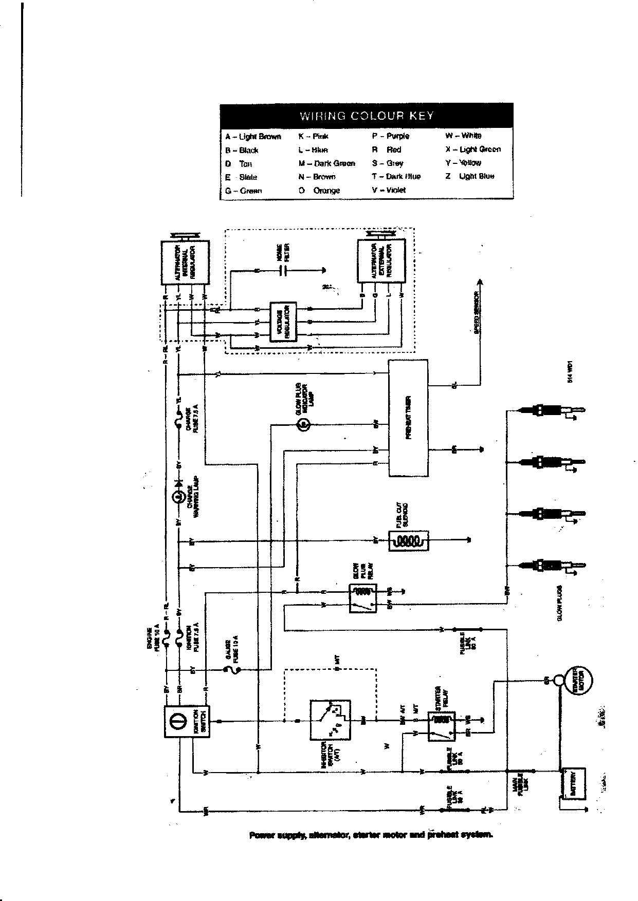
Where to download diagram for toyota hilux surf engine turbocharger electrical wiring diagrams for the entire vehicle. This comprehensive manual consists of over 500 pages of step by step instructions which will suite the diy handyman through to the professional mechanic. Wiring diagrams 6 september 2018, 21:53.
This wiring diagram manual has been prepared to provide information on the electrical system of the hilux. I have a couple of issues with the instrument cluster and surrounding areas. Hilux surf forums general interestchitchat.
He divided it in different chapters in. Describe and identify the diagram component u. Trying save a bit of down time on checking symptoms with diagram and.
Ive been informed by the garage that gave up on it that its probably a faulty ecu but as we cannot locate a wiring diagram anywherethey cannot proceed. I took a quick look in my paper '99 factory ewd. So far everything is going great, but i cant seem to find many details on the wiring for the ln131 (poverty pack version of the surf).
If this is your first visit, be sure to check out the faq by clicking the link above. Hi guys my 3l is here for my 2l 3l conversion. Does anyone know which colours are what.
Toyota hilux surf 1kz te wiring diagram keywords: Describe the meaning of the s/d in diagram component t. Toyota hilux surf stereo wiring diagram.
Clicking this will make more experts see the question and we will remind you when it gets answered. Toyota 4 runner free workshop and repair manuals. View and download toyota hilux surf 4wd manual online.
The nice people at diagramweb.net supplied thesem so i thought i'll pop them up for the sake of the search. The moonroof circuits are identical to the 2002 at the above link. Kun15, 16, 25, 26 series for service specifications and repair procedures of the above models other than those listed in this manual, refer to the following manuals;
Ive started to work on it a bit. To start viewing messages, select the forum that you want to visit from the selection below. Hilux / surf club ;
Describe the meaning of the c13 in the diagram component q. Hi lux surf, wiring diagram hi lux surf, wiring diagram. Understanding toyota wiring diagrams worksheet #1 1.
Mar 24, · hiya, as above really for a 96 truck. By p12rob, february 13, 2007 in hilux. Use the download links below.
The ln130 harness is slick in that it unplugs directly inside and comes out in one piece, the ln131 does not split the same. 1988 1997 toyota hilux surf 4runner workshop service repair The corvey library was built during the last half of the 19th century by victor and his wife elise, both bibliophiles with varied interests.
The wiring diagrams are at the end. Toyota 4runner stereo wiring diagram my pro street. Evening all possibly a long shot but wondering if there are any wiring diagrams for a gen 2 kzn130?
For other circuits that are different, i can help you out on an as needed basis. I wanted to mate the engine harness of the ln131 to the chassis wiring of the ln130. Click the register link above to proceed.
Stereo wiring diagram for 95 toyota hilux surf ssr x cars trucks question. Describe the meaning of the 2 in diagram component s. You may have to register before you can post:
'99 4runner sr5 5spd 3.4l v6 4wd (u.s), original '99 talls in front, ome 906s in back, hella fogs, trekmaster. We thank all our members who contributed to these section. My question is does anybody have a relevant diagram or any experince of.
Details about tridon high flow thermostat for toyota hilux surf diesel ln130 g w inc turbo.

Wiring & Clamp for 2000 2002 Toyota HILUX SURF/ 4RUNNER KDN185 Japan sales region

Wiring & Clamp for 2000 2002 Toyota HILUX SURF/ 4RUNNER KZN185 General sales region

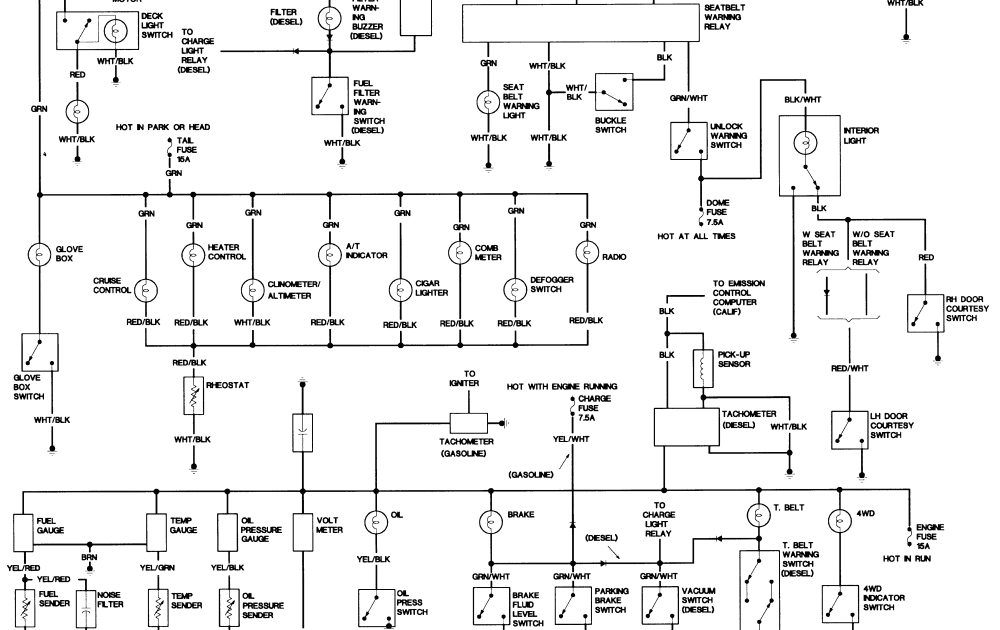
1993 toyota hilux wiring diagram 3 Toyota hilux, Toyota, Electrical diagram

Wiring & Clamp for 2000 2002 Toyota HILUX SURF/ 4RUNNER KZN185 General sales region
4wd occasionally Hilux Surf Forum

Toyota Hilux Surf 1kz Te Wiring Diagram Wiring Diagram

Wiring Diagram For 93 Toyota Hilux Surf Wiring Diagram

Wiring diagram for 93 toyota hilux surf

Toyota Hilux Surf Kzn130 Wiring Diagram Wiring Diagram

Toyota Hilux Surf Kzn130 Wiring Diagram Wiring Diagram

Wiring & Clamp for 1991 1993 Toyota HILUX SURF/ 4RUNNER LN130 Japan sales region, , 17722988

Wiring diagram for 93 toyota hilux surf

wiring diagram toyota hilux surf Wiring Diagram

Wiring & Clamp for 1995 1998 Toyota HILUX SURF/ 4RUNNER RZN185 Japan sales region
The answer from Japan Page 3 Toyota 4Runner Forum Largest 4Runner Forum
stereo wiring diagram needed Hilux Surf & 4Runner forum

Wiring & Clamp for 2000 2002 Toyota HILUX SURF/ 4RUNNER VZN185 U.S.A. sales region


